Интернет вещей (IoT, Internet of Things) стремительно меняет наш мир, превращая обычные устройства в «умные» системы, способные обмениваться данными и принимать решения без участия человека. Интернет вещей – это концепция, которая описывает сеть физических объектов, оснащенных датчиками, программным обеспечением и другими технологиями для подключения и обмена данными с другими устройствами и системами через Интернет [1].
Современные IoT-решения автоматизируют рутинные процессы: от управления домашними приборами до контроля безопасности. Благодаря ему обычные вещи становятся «умными»: сами включают свет, регулируют температуру, следят за безопасностью. Это как личный помощник, который делает дом удобнее, а работу – эффективнее. Для того чтобы разобраться, как работает Интернет вещей можно воспользоваться программой Cisco Packet Tracer.
Cisco Packet Tracer представляет собой программный симулятор работы сети и используется инструкторами и слушателями Сетевых академий Cisco во всем мире. Является обширной системой для проектирования и пробной эксплуатации сетевых моделей [2]. Система включает в себя возможность построения IoT моделей, составляющими которой являются часть системы умный дом.
Рассмотрим построение умного дома в программе Cisco Packet Tracer. Все необходимые компоненты для проектирования умного дома располагаются в End Devices – Home. Ниже представлена схема умного дома (рис. 1).

Рис. 1. Схема умного дома
Для реализации умного дома использовались следующие устройства:
- Fan (вентилятор);
- Temperature Monitor (датчик температуры);
- Furnace (обогреватель);
- Webcam (камера);
- Motion Detector (датчик движения);
- Door (дверь);
- Humidifier (увлажнитель воздуха);
- Light (свет);
- Smartphone-PT (смартфон);
- Window (окно).
Все устройства подключаются к Home Gateway DLC100 это центральный шлюз для всех умных устройств в системе автоматизации умного дома [3]. На этом устройстве необходимо указать LAN (Local Area Network). LAN – это сеть, которая объединяет компьютеры и другие устройства в пределах ограниченной территории, например дома, офиса, учебного заведения или одного здания [4]. Далее на каждом устройстве устанавливается автоматическое определение сети.
Настройка поведения устройств производится в смартфоне (Smartphone-PT). В разделе IoT Monitor добавляются новые устройства и прописываются сценарии поведения для уже добавленных. При добавлении нового сценария указывается его наименование, условие, от которого зависит дальнейший ход развития событий, и устройство, которое будет менять свое состояние, в зависимости от условия. Сформированные сценарии можно удалять и редактировать, а также устанавливать статус активности.
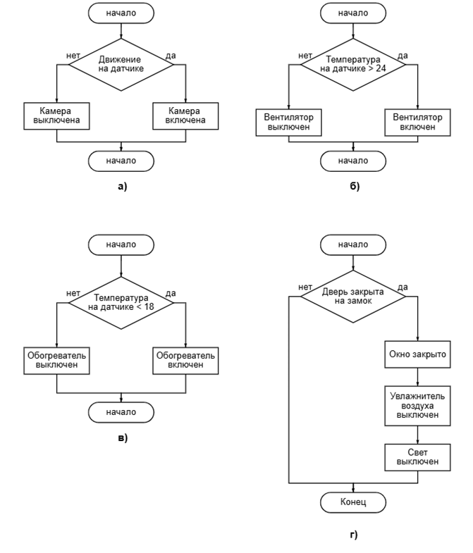
Блок-схема работы устройств в умном доме представлена ниже (рис. 2).

Рис. 2. Блок-схемы работы устройств
Таким образом режим работы камеры (а) зависит от датчика движения, вентилятора (б) или нагревателя (в) зависит от температуры. Состояние двери (г) определяет режим работы света в помещении и увлажнителя воздуха, а также закрытие окна.
В рамках исследования были изучены системы Интернет вещей, а также построена модель умного дома в программе Cisco Packet Tracer. Программа предоставляет широкий спектр проектирования систем для глубокого анализа и изучения схем работы и настройки устройств.
.png&w=384&q=75)
.png&w=640&q=75)